

| 
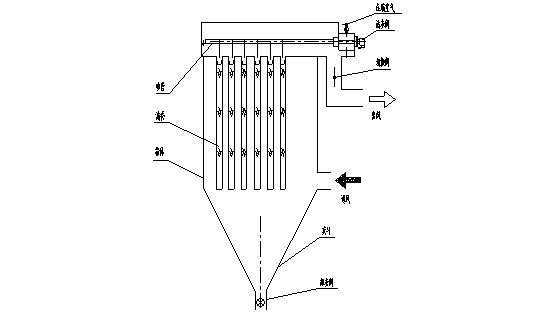
             简介: 低压长袋脉冲技术综合了反吹风袋收尘器与气箱脉冲袋收尘器的优点,克服了二者不足,又_克服了传统管式脉冲喷吹的缺点。该收尘器滤袋长 低压长袋脉冲技术在我国水泥各行业近两年发展较快,它综合了反吹风袋收尘器与气箱脉冲袋收尘器的优点,克服了二者的不足,做为新一代脉冲技术又_克服了传统管式脉冲喷吹的缺点。该收尘器滤袋长 LMC低压长袋脉冲袋收尘器的主要特点 一、清灰方式与参数 LMC袋收尘器由箱体、灰斗、滤袋、袋笼、文丘里管,脉冲清灰系统及进出风管、切换阀等组成。它的工作原理如图一所示。含尘气体进入进风管后折下灰斗上升至滤袋过滤。粗颗粒*惯性落入灰斗底部,细粉尘被阻留在滤袋外表面。过滤后的气体通过各滤袋汇集到净气室,经出风管、风机排入大气。随着过滤过程不断进行,滤袋外表层积尘逐渐增多、增厚,这时需要对滤袋进行清灰。PC机控制仪发出信号,对每单元逐个清灰(每单元滤袋分数组,每组12条)压缩空气经脉冲阀,喷管、文丘里进入滤袋,使滤袋膨胀,震动,达到清灰目的。 
             
            
              LMC袋收尘器的脉冲喷吹属于强力清灰。当脉冲气流喷射时,瞬间高压空气由于文丘里管诱导作用而抽吸周围高于本身五倍的二次气流冲入滤袋。所产生的压力对滤袋作用时加载速度_快,由袋口向底端讯速传递,引起袋壁及粉尘层的拉伸、压缩、剪切、使粉尘层破裂、脱落、清灰效果明显。 1. 文丘里管及脉冲清灰系统 脉冲清灰系统包括脉冲阀、喷管、气包管。 脉冲阀选用淹没式,喷吹阻力低,适合低压喷吹。气包采用方形气包,脉冲阀直接安装在气包上 2. 脉冲清灰试验 脉冲清灰系统我们选择三种方式试验,根据试验,确定_脉冲清灰方式。 三种方式性能优、缺点比较: NO1方式: a. _个孔与_后一个孔压缩空气气流量不均,_孔喷吹气流量_少,主要是其产生引流而造成。 b. 由于气流的横向运动所产生的分力使得喷吹方向跑偏。 c. 部分扩引气流打在花板上,浪费清灰功效。 d. 滤袋上端产生负压,具有引流,使得滤袋上清灰不净。滤袋浪费400㎜,从而导致整体过滤面积减少,气布比提高。 e. 箱体内各滤袋清灰程度不均。 NO2方式: a. 具有二次引流扩大清灰气量,但在滤袋内所产生清灰度是中间大旁边?。贾?/span>NO2压力分布图) b. 有时可能在滤袋上端产生引流可导致负压,使得滤袋上部清灰不净。 c.滤袋浪费400㎜,从而导致整体过滤面积减少,气布比提高。 d. 滤袋上端产生负压,平均寿命减短。 结论:清灰效率有所提高,由于气布比提高,但仍存在压差阻力大的缺点,且滤袋寿命减短。 NO3方式: a. 具有二次引流,可以解决以上两种方式产生的缺点。 b. _限度地利用了气流形成中各段引流。 c.滤袋内压力分配_,故清灰效果_。 d. 用20%的压缩空气导入了花板上80%的干净气体,增加了清灰强度。 e. 在同等的清灰效果下,阀门减小,气包减小。 结论:清灰_,压差阻力_小,性能价格比_优,由于清灰均匀, 滤袋寿命相对提高。 通过上述三种方案性能比较,选择第三种脉冲清灰方式。 3. 清灰强度及脉冲阀规格的确定 LMC袋除尘器设计方案为:12条滤袋同用一只脉冲阀,喷吹一次同时满足12条滤袋的清灰要求。 (1) 12条滤袋在过滤风速 滤袋直径Ф 处理风量:QA=0.13X3.14X6X12X.0.9X60= 0.15秒时通风量为 (2)不同口径脉冲阀耗气量计算 计算公式:QB =CvFg(ASCO公司提供) 式中:QB-喷吹耗气量ft3/h Cv-流量系数 Fg-脉冲阀在_压力下的流量ft3/h A:21/2″脉冲阀耗气量 查表:Cv=106 0.3pMPa时,Fg= QB1=CvFg=106X1800= 脉冲宽度0.15秒时耗气量 引射气流量(3倍)0。23X3= 总喷吹量:Q21/2″=0.23+0.69=0.91(m3) B:11/2″脉冲阀耗气量(压缩空气压力0.3pMPa) 查表:Cv=51 0.3pMPa时,Fg= QB2=CvFg=51X1800= 脉冲宽度0.15秒时耗气量 引射气流量(3倍)0.11X3= 总喷吹量:Q11/2″=0.11+0.33=0.44(m3) (3)脉冲阀规格确定 由上述计算:滤袋处理风量QA= 21/2″脉冲阀喷吹量Q21/2″= 11/2″脉冲阀喷吹量Q11/2″= 脉冲阀喷量应为滤袋处理风量2-3倍,才可满足清灰强度的要求。 依上述计算,11/2″脉冲阀喷吹量是滤袋处理风量的6倍,已_能够满足清灰强度要求。因此,选用11/2″脉冲阀。 LMC清灰压力设计为 LMC低压脉冲_可以控制细颗粒而没有喷出现象。它在清灰时需要一个低压高流量脉冲气体,与普通高压低流量不同具有两个特点: (一)当瞬间滤袋快速膨胀时具有高流量低压给滤袋提供加速力。 (二)清灰后可控制减缓滤袋返回速度(控制出风阀重新打开时间)实现滤袋清灰后“软着陆”。 二、滤料的选择  到八十年代初期,随着在实际应用中对烟气粉尘性能的认识,这种单纯*温度来区分滤料的方式已不适应。在水泥工业中,烟气种类有含湿、含酸、含碱、含爆炸性粉尘,另外在机立窑烟气、烘干机烟气及生料粉磨废气中,粘结性,_细性,磨啄性等特点也不可忽视。 LMC袋收尘器根据自身的清灰方式以及处理含尘气体的不同来选择滤袋的材质。主要选择玻璃纤维针刺毡和涤纶拒水柜油合纤针刺滤料两种,现分述如下: (1) 玻璃纤维针刺毡对于温度较高的含尘气体,我们选择玻纤刺毡滤料。玻璃纤维针刺毡滤料是一种结构合理,性能_的新型过滤材料,它不仅具有玻纤滤料_、_等特点,而且由于毡层纤维三维孔结构,孔隙率高,气体过滤阻力小,除尘效率高。并具有耐曲挠、耐磨损、尺寸稳定、可在 
 (2) 涤纶拒油合纤针刺滤料 拒水拒油合纤针刺滤料是采用特殊的拒水拒油整理剂加工制成。它使合纤针刺滤料在原来具有过滤阻力低,滤效高特点基础上,更进一步具有憎水、憎油性特点,使粉尘颗粒在带有_湿度和油粘性的情况下,仍可以在滤袋表易于_和剥落。该滤料性能优劣与否,是分别根据GB4745-34_标准(纺织表面抗湿性测定方法――沾水试验方法)和IBW0415-89__标准(涂层织物拒油性能测定方法)来衡量的,前者分为1-5级,后者分为1-8级,以8级为_。这里选用的滤料拒水性能达到4级,拒油性能达到5级,_时可达到7级。滤料型号为ZLN-DFS,其性能、技术参数见下表: 
 
 LMC袋收尘器在使用过程中发现部份滤袋破损总是出现在一个固定的方位。分折其原因是由于含尘气体进入袋室内气流分布不均(产生偏流现象)这些部位长期受集中气流的冲刷致使滤袋破损。另一危害是用于立窑或冷却机收尘时,含尘气体中带有火星颗粒把这些部位烧成小孔漏灰或严重的引起烧袋。 经过反复试验,分析对比,我们在灰斗内增设气流导向板及在上箱体进风处设置均流板,能够挡住火星及粗颗粒冲刷,气流均匀分布,延长了滤袋的使用寿命。 三、离线与在线 水泥厂袋收尘器中大多数采用离线操作方式。如反吹风袋收尘器,气箱脉冲袋收尘器等。这种方式很容易实现“清灰-沉降-过滤”的三状态清灰。对于高浓度粉尘,剥离性差的粘结粉尘较为适合。离线的另一优点在于它任一箱室可以在运行中与主机分离进行检修,而不需?;?。 采用离线方式要将袋收尘分成若干箱室,增加了出风管道切换阀门以及设备钢耗。另一缺点是增加了故障及维护工作量。在离线清灰时,由于没有逆向气流支撑,喷吹力量很大,对箱室冲击震动大,需考滤100%的荷载设计。这方面气箱脉冲袋收尘器表现的比反吹风袋收尘器还要明显。 在线操作的粉尘再附问题是一直研究的难题。但近年来由于清灰技术的进步也逐步得以解决。如何在这种方式下实现“三状态”即“软着陆”问题,河北华宇除尘公司已经有很好的解决办法。 滤袋的清灰效果,“离线”与“在线”只是起一种铺助作用,其决定因素还是清灰装置本身。脉冲喷吹有足够强的清灰强度,在线清灰可取得预期的效果。而在防燃、防爆的高浓度煤粉收集方面,建议采用离线较好。在过滤风速较低,粉尘剥离性较好的情况下,采用在线方式成本低,且管理简单。 为适应各种粉尘清灰需要,LMC袋收尘器设计为在线与离线二种方式,扩大了应用领域。   | 
        ||||||||||||||||||||||||||||||||||||||||||||||||||||||||||||||||||||||||||||||||||

冀公网安备13098102000524号